
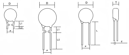
| DMAX | Ť | d | F1 | 直线领先 | 弯曲的铅 | ||
| 最大 | ±0.05 | ±1 | |||||
| LMIN | L1min | L2±2 | |||||
| MF72□D5 | 7 | 5 | 0.6 / 0.45 | 5 / 2.5 | 25 | 17/5.0 | 8/5.0 |
| MF72□D7 | 9 | 5 | 0.6 | 5 | 25 | 17/5.0 | 8/5.0 |
| MF72□D9 | 11 | 5.5 | 0.8 / 0.6 | 7.5 / 5 | 25 | 17/5.0 | 8/5.0 |
| MF72□D11 | 13 | 5.5 | 0.8 | 7.5 / 5 | 25 | 17/5.0 | 8/5.0 |
| MF72□D13 | 15.5 | 6 | 0.8 | 7.5 | 25 | 17/5.0 | 8/5.0 |
| MF72□D15 | 17.5 | 6 | 0.8 | 10 / 7.5 | 25 | 17/5.0 | 8/5.0 |
| MF72□D20 | 22.5 | 7 | 1 | 10 / 7.5 | 25 | / | / |
| MF72□D25 | 27.5 | 8 | 1 | 10 / 7.5 | 25 | / | / |

| DMAX | Ť | d | F1 | 直线领先 | 弯曲的铅 | ||
| 最大 | ±0.05 | ±1 | |||||
| LMIN | L1min | L2±2 | |||||
| MF72□D5 | 7 | 5 | 0.6 / 0.45 | 5 / 2.5 | 25 | 17/5.0 | 8/5.0 |
| MF72□D7 | 9 | 5 | 0.6 | 5 | 25 | 17/5.0 | 8/5.0 |
| MF72□D9 | 11 | 5.5 | 0.8 / 0.6 | 7.5 / 5 | 25 | 17/5.0 | 8/5.0 |
| MF72□D11 | 13 | 5.5 | 0.8 | 7.5 / 5 | 25 | 17/5.0 | 8/5.0 |
| MF72□D13 | 15.5 | 6 | 0.8 | 7.5 | 25 | 17/5.0 | 8/5.0 |
| MF72□D15 | 17.5 | 6 | 0.8 | 10 / 7.5 | 25 | 17/5.0 | 8/5.0 |
| MF72□D20 | 22.5 | 7 | 1 | 10 / 7.5 | 25 | / | / |
| MF72□D25 | 27.5 | 8 | 1 | 10 / 7.5 | 25 | / | / |
| DMAX | Ť | d | F1 | 直线领先 | 弯曲的铅 | ||
| 最大 | ±0.05 | ±1 | |||||
| LMIN | L1min | L2±2 | |||||
| MF72□D5 | 7 | 5 | 0.6 / 0.45 | 5 / 2.5 | 25 | 17/5.0 | 8/5.0 |
| MF72□D7 | 9 | 5 | 0.6 | 5 | 25 | 17/5.0 | 8/5.0 |
| MF72□D9 | 11 | 5.5 | 0.8 / 0.6 | 7.5 / 5 | 25 | 17/5.0 | 8/5.0 |
| MF72□D11 | 13 | 5.5 | 0.8 | 7.5 / 5 | 25 | 17/5.0 | 8/5.0 |
| MF72□D13 | 15.5 | 6 | 0.8 | 7.5 | 25 | 17/5.0 | 8/5.0 |
| MF72□D15 | 17.5 | 6 | 0.8 | 10 / 7.5 | 25 | 17/5.0 | 8/5.0 |
| MF72□D20 | 22.5 | 7 | 1 | 10 / 7.5 | 25 | / | / |
| MF72□D25 | 27.5 | 8 | 1 | 10 / 7.5 | 25 | / | / |
| DMAX | Ť | d | F1 | 直线领先 | 弯曲的铅 | ||
| 最大 | ±0.05 | ±1 | |||||
| LMIN | L1min | L2±2 | |||||
| MF72□D5 | 7 | 5 | 0.6 / 0.45 | 5 / 2.5 | 25 | 17/5.0 | 8/5.0 |
| MF72□D7 | 9 | 5 | 0.6 | 5 | 25 | 17/5.0 | 8/5.0 |
| MF72□D9 | 11 | 5.5 | 0.8 / 0.6 | 7.5 / 5 | 25 | 17/5.0 | 8/5.0 |
| MF72□D11 | 13 | 5.5 | 0.8 | 7.5 / 5 | 25 | 17/5.0 | 8/5.0 |
| MF72□D13 | 15.5 | 6 | 0.8 | 7.5 | 25 | 17/5.0 | 8/5.0 |
| MF72□D15 | 17.5 | 6 | 0.8 | 10 / 7.5 | 25 | 17/5.0 | 8/5.0 |
| MF72□D20 | 22.5 | 7 | 1 | 10 / 7.5 | 25 | / | / |
| MF72□D25 | 27.5 | 8 | 1 | 10 / 7.5 | 25 | / | / |