| 参数 | 价值 | 单位 |
| 25 ℃ 时的电阻值 | 10 K | % |
| 上公差R25-价值 | ± 3 | K |
| B.25/85-价值 | 3984 | % |
| B 上的公差25/85-价值 | 0.5 公里 | ℃ |
| 工作温度范围零损耗时 | -25 到 + 105 | S |
|
的响应时间 t 63.2%T
(空气 25 °C 至水 85 °C)
|
1.5 | MW/K |
|
的响应时间 t 63.2%T
(空气 25 °C 至水 85 °C)
|
2.8
5.6
100
|
MW |
|
损耗因子
安装在静止的空气中
在静止的水中
|
500 | V交流 |
| 55 °C 下的最大功耗 | > 100 M | W |
|
绝缘耐压最小
终端和胶囊之间 (10 s)
500 V 时的绝缘电阻直流
热梯度
|
<0.02 | K/K |
| 重量 | 2.1 | G |

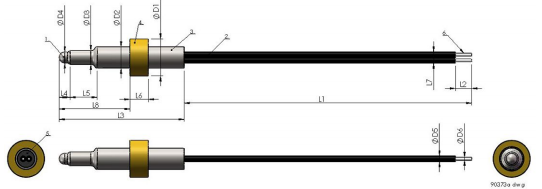
| L1 | L2 | L3 | L4 | L5 | L6 | L7 | L8 | Ø D1 | Ø D2 | Ø D3 | Ø D4 | Ø f5 | Ø d4 |
|
200 ± 20 |
4 | 23 | 2 | 5 | 3.4 | 2.05 | 13 |
6.8 + 0/-0.1 |
3.9 0.1 公里 |
2.5 | 2 | 1 | 0.3 |
| 温度。 | R(T)/R25 | 阻力 | DR/R | a | DT | R分钟。 | R最大。 |
| (°C) | (W) | (%) | (%/K) | (K) | (W) | (W) | |
| -25 | 12.99 | 129 900 | 4.39 | 5.99 | 0.73 | 124 202 | 135 598 |
| -20 | 9.676 | 96 761 | 4.22 | 5.79 | 0.73 | 92 675 | 100 848 |
| -15 | 7.276 | 72 765 | 4.07 | 5.61 | 0.73 | 69 806 | 75 723 |
| -10 | 5.522 | 55 218 | 3.92 | 5.43 | 0.72 | 53 056 | 57 380 |
| -5 | 4.227 | 42 268 | 3.77 | 5.26 | 0.72 | 40 674 | 43 861 |
| 0 | 3.262 | 624 | 3.63 | 5.1 | 0.71 | 31 440 | 33 808 |
| 5 | 2.538 | 25 381 | 3.49 | 4.94 | 0.71 | 24 494 | 26 268 |
| 10 | 1.99 | 19 897 | 3.36 | 4.8 | 0.7 | 19 227 | 20 566 |
| 15 | 1.571 | 711 | 3.24 | 4.65 | 0.7 | 202 | 16 220 |
| 20 | 1.249 | 493 | 3.12 | 4.52 | 0.69 | 103 | 882 |
| 25 | 1 | 10 000 | 3 | 4.39 | 0.68 | 9700 | 10 300 |
| 30 | 0.8056 | 8056 | 3.11 | 4.26 | 0.73 | 7805.1 | 8306.8 |
| 35 | 0.653 | 6529.7 | 3.22 | 4.14 | 0.78 | 6319.3 | 6740.2 |
| 40 | 0.5324 | 5323.9 | 3.33 | 4.03 | 0.83 | 5146.6 | 5501.1 |
| 45 | 0.4365 | 4365.3 | 3.43 | 3.92 | 0.88 | 4215.4 | 4515.1 |
| 50 | 0.3599 | 3598.7 | 3.53 | 3.81 | 0.93 | 3471.6 | 3725.8 |
| 55 | 0.2982 | 2982.3 | 3.63 | 3.71 | 0.98 | 2874 | 3090.5 |
| 60 | 0.2484 | 2483.8 | 3.72 | 3.61 | 1.03 | 2391.3 | 2576.3 |
| 65 | 0.2079 | 2078.7 | 3.81 | 3.51 | 1.09 | 1999.4 | 2157.9 |
| 70 | 0.1748 | 1747.7 | 3.9 | 3.42 | 1.14 | 1679.5 | 1815.9 |
| 75 | 0.1476 | 1475.9 | 3.99 | 3.34 | 1.2 | 1417.1 | 1534.8 |
| 80 | 0.1252 | 1251.8 | 4.07 | 3.25 | 1.25 | 1200.8 | 1302.8 |
| 85 | 0.1066 | 1066.1 | 4.15 | 3.17 | 1.31 | 1021.8 | 1110.4 |
| 90 | 0.09116 | 911.59 | 4.23 | 3.09 | 1.37 | 873.01 | 950.16 |
| 95 | 0.07825 | 782.46 | 4.31 | 3.02 | 1.43 | 748.75 | 816.17 |
| 100 | 0.06741 | 674.11 | 4.38 | 2.94 | 1.49 | 644.56 | 703.66 |
| 105 | 0.05828 | 582.84 | 4.46 | 2.87 | 1.55 | 556.87 | 608.82 |